No ha pasado demasiado desde que Nintendo liberó un video en el que mostraba las características más superficiales de su nueva consola. A pesar de que anunciaron que no habría más noticias hasta el año que viene, multiples secretos han sido revelados.

Han salido a la luz unos documentos sobre las patentes que Nintendo tenía planeados para la Switch, y aunque es posible que no todo haya sido integrado a la versión final, tampoco se han revelado las especificaciónes téctinas oficiales de la consola, por lo que puede haber una o dos secretos esperando dentro.

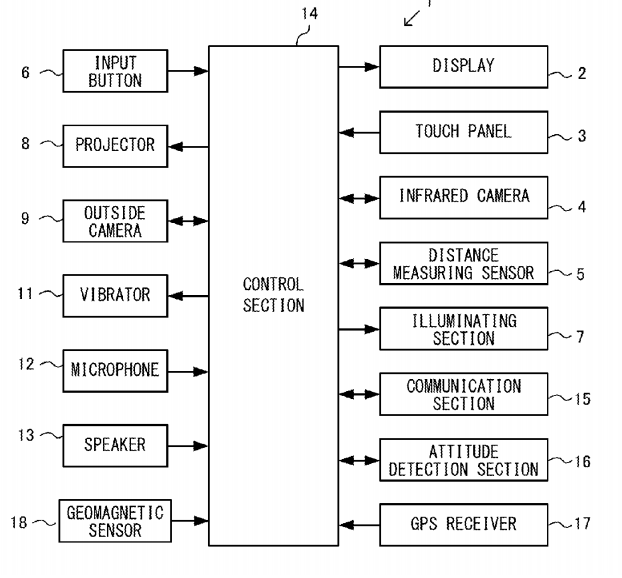
Entre lo más relevante, se encuentan sensores de movimiento, giroscopio, GPS, pantalla táctil, una brújula, rastreo de movimiento, reconocimiento de imágenes y la capacidad de proyectar imágenes sobre una superficie o en la mano.

Switch

La patente muestra una serie de orificios en los costados de la consola, mismos que podrían dar lugar a cámaras de infrarrojos, sensores de medición de luz  y proyector de imágenes. Aún así, las imágenes muestran incluso los joysticks de los controles posicionados a la misma altura, lo que sugiere que son diseños viejos, al igual que las ideas presentadas en los archivos.

463351_832x563

En este enlace podrás ver todas las patentes, pero recuerda que nada está confirmado, y si bien son buenas ideas, puede que no estén presentes en la consola, al menos no por ahora. Recordemos que Microsoft tenía planeado que el contról de Xbox One tuviera un emisor de aromas, el cual serviría para oler cosas como neumaticos derrapando, o humedad dependiendo el entorno del juego, y si bien era una idea interesante, jamás fue implementada.